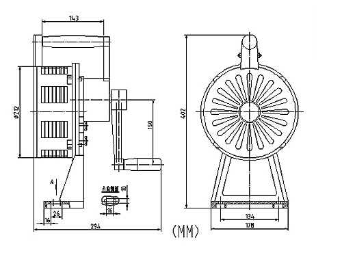
LK-120A型手摇警报器
声 压 级: 120±2
输出频率: 600±20
重    量: 5.5kg
有效范围: 1000米
平均声压级(A级)110分贝(在半径1米处)
 

系列产品

 
轻型脚踏LK-120S  
浙ICP备10016760号-1